Apple sắp tung kính thực tế ảo "chính chủ"

Admin   Admin
Ngày đăng: 05/07/2018
0 bình luận

Thực tế ảo đang là xu hướng của ngành công nghệ và tất nhiên Apple không thể nào đứng ngoài cuộc chơi.

VR là thuật ngữ chỉ môi trường mô phỏng bằng máy tính hiển thị trên kính ba chiều, trong khi AR là công nghệ giúp con người quan sát vật thể trong thế giới thật qua thiết bị điện tử. Loại thiết bị này sẽ cung cấp thông tin liên quan đến các vật thể đó.

 Apple hiện đang lên kế hoạch tham gia thị trường thực tế ảo. Đáng chú ý là kế hoạch lần này được Apple thực hiện rất lặng lẽ, và không hề thông báo cho giới truyền thông.

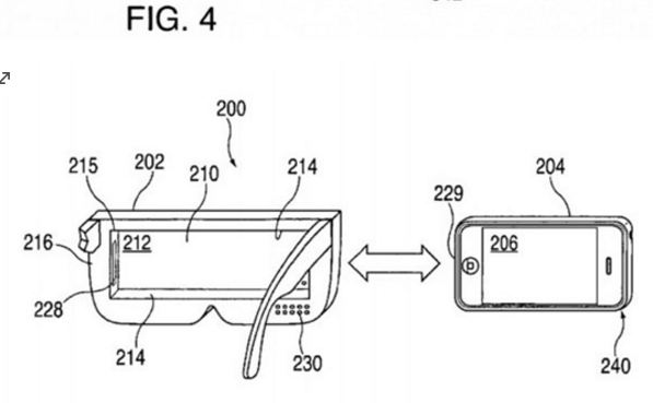
Thiết kế kính thực tế ảo của Apple. 

 

Trước đó Apple đã mua công ty tiên phong trong lĩnh vực AR là Metaio và hãng sản xuất cảm biến 3-D PrimeSense. Mới đây, Apple lại thâu tóm tiếp Faceshift, công ty phát triển công nghệ bắt hình động hỗ trợ các thiết bị VR và AR.

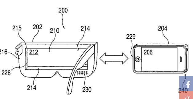
Bằng sáng chế mới nhất về kính thực tế ảo VR của Apple 
 

Chuyên trang về thực tế ảo UploadVR đánh giá rằng mẫu thiết kế kính thực tế ảo của Apple không quá khác biệt so với những mẫu kính thực tế ảo khác đang có trên thị trường, nhưng sẽ khác về công nghệ nằm bên trong chiếc kính.

Yêu công nghệ là địa chỉ cung cấp các loại kính thực tế ảo. Để đặt hàng, bạn vui lòng truy cập website http://yeucongnghe.vn hoặc gọi đến hotline 090.459.6100 - 096.44.66.805 - 091.969.9983 - 098.289.7670.

Theo Yan 

Mời bạn xem thêm:

Tìm hiểu về Google Cardboard - Kính thực tế ảo giá rẻ hiện nay
Giảm giá sâu khi mua kính thực tế ảo tại Yêu công nghệ
Ngoài việc chơi game, kính thực tế ảo còn được dùng để làm gì khác?

Viết bình luận
Email sẽ không công khai khi bạn đăng bình luận
zalo