
“4 ngày trước khi nhập viện bệnh nhân cũng đã xuất hiện tình trạng này cùng với tiền sử thường xuyên ăn món lòng lợn tiết canh và rau sống đã khiến chúng tôi nghĩ ngay đến nguy cơ bệnh nhân bị sán não”, BS Cấp nói.

Tiết canh, lòng lợn là nguyên nhân gây sán não. (Ảnh minh họa)
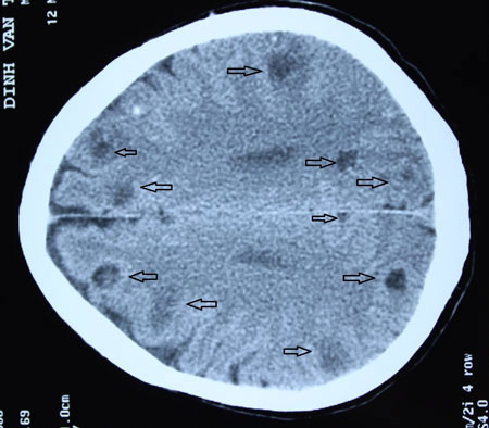
Đúng như phỏng đoán, trên hình ảnh chụp CT, mỗi lát cắt chụp đã phát hiện 4 - 5 ổ sán não, tính chung trong não người bệnh lên đến trên dưới 50 ổ sán.
Theo BS Cấp, dù tỉ lệ bệnh nhân nhập viện tại BV Bệnh Nhiệt đới Trung ương vì sán não không nhiều (30-40 ca mỗi năm) nhưng có rất nhiều nguy cơ nhiễm sán trong môi trường. Bình thường, sán có trong ruột của lợn, thậm chí có trong ruột của người. Khi phân thải ra môi trường nếu không được xử lý tốt, bám vào rau sống, tiết canh (do giết mổ không an toàn, trứng sán trong phân có nguy cơ dính vào tiết canh trong quá trình chọc tiết lợn), nếu người nuốt phải trứng sán này trong thức ăn thì sẽ bị nhiễm ấu trùng sán lợn.
Khi trứng sán vào trong cơ thể, nó phát triển thành ấu trùng, xuyên qua niêm mạc đường tiêu hóa và theo dòng máu, mạch huyết đi khắp mọi nơi trong cơ thể theo cư trú ở tất cả các hệ thống từ cơ vân đến cơ tim, cơ hoàn, não. Khi nang sán trú lại chỗ nào sẽ gây bệnh ở chỗ ấy. Ví như nếu chui vào cơ có thể sờ thấy nang sán. Nếu sán trú ngụ vùng mắt có thể gây mù, trú ngụ trong não gây tình trạng phù não, co giật, thậm chí tử vong.
TS.BS Nguyễn Như Lâm, Trưởng khoa Vi rút - Kí sinh trùng, cho biết, phần lớn bệnh nhân nhiễm sán não đến bệnh viện khám với biểu hiện đau đầu kéo dài, thậm chí có co giật, điều trị tại tuyến cơ sở nhiều tháng, thậm chí nhiều năm không đỡ với chuẩn đoán đau đầu, động kinh, nhất là ở tuyến y tế cơ sở. Nhưng khi đi chụp cắt lớp, hình ảnh nang sán não dễ dàng được phát hiện, bởi nang sán có kích thước khá to, có những nang lớn từ 0,5-1cm.
“Nhất là với những bệnh nhân bị nang sán gây tổn thương ở những ống dẫn lưu, lưu thông ổ dịch não tủy từ trên não, gây tắc, gây giãn não thất, ứ nước trong não thì việc phát hiện sớm rất quan trọng để tiến hành phẫu thuật. Còn bình thường, với sán não, người bệnh chỉ cần điều trị nội khoa mà không có chỉ định phẫu thuật”, TS Lâm nói. Còn nếu được phát hiện sớm bệnh nhân sẽ khỏi hẳn các triệu chứng do ấu trùng sán gây ra, song nhiều trường hợp có thể để lại hiện tượng các nốt vôi hóa trong não do bị nang sán quá lâu không được điều trị”, TS Lâm cảnh báo.

Do những bệnh nhiễm kí sinh trùng liên quan chặt chẽ với thói quen ăn uống, có thể liên tục tái nhiễm, có thể để lại di chứng não cho người bệnh nên ngoài việc phát hiện bệnh sớm, để phòng bệnh, cần phải vệ sinh cá nhân sạch sẽ, tránh tiếp xúc với môi trường đất, cần rửa tay sạch trước khi ăn và sau khi đi vệ sinh. Cần vệ sinh môi trường sạch sẽ, quản lý tốt nguồn phân, không dùng phân tươi để tưới rau… Tuyệt đối không ăn thịt lợn gạo, tiết canh, nem chua, thịt lợn tái, điều trị người bệnh khi có biểu hiện nhiễm sán dây…
Theo Dân Trí.