Apple vừa nhận được một bằng sáng chế về một loại camera mới cho các thiết bị di động, đó là camera có thiết kế ba thấu kính và ba cảm biến. Bằng sáng chế này cho thấy trong tương lai các camera trên iPhone và iPad sẽ có thể chụp ảnh với chất lượng cao hơn nhiều lần.

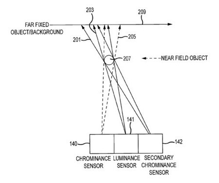
Bằng sáng chế số 8.497.897 của Apple, mô phỏng một máy camera với ba cảm biến: một cái dành cho độ sáng và hai dành cho màu sắc. Bằng cách sử dụng một thấu kính màu thứ hai, thì bộ xử lí hình ảnh sẽ có thể so sánh các dữ liệu từ cả hai thấu kính màu để tạo ra một hình ảnh với màu sắc chính xác hơn.

Mỗi bộ cảm biến sẽ có một ống kính được gắn riêng cho mình. Bằng cách sử dụng ba ống kính, hệ thống này có thể khắc phục lỗ hổng tiềm năng trong hệ thống đa cảm biến: đó là các điểm mù. Trong trường hợp có một vật thể nào đó ở gần thấu kính (ví dụ như một hạt bụi) chặn bớt ánh sáng đến một trong các thấu kính thì với hai cảm biến màu sắc chúng sẽ bù đắp màu sắc cho nhau tốt hơn.
Sơ đồ bố trí hoạt động bù trừ của các cảm biến như sau:

Thành quả của công nghệ này sẽ là những hình ảnh có màu sắc tốt hơn và chất lượng vượt trội ngay cả trong những điều kiện chụp hình khó nhất. Bằng sáng chế này còn mô tả các cách thiết lập khác nhau của ba bộ cảm biến, một trong số đó có khả năng giúp chụp ảnh tốt trong các điều kiện thiếu sáng thông qua việc bù đắp màu sắc cho những vùng có độ sáng thấp.
iPhone 5S sẽ khó có thể được trang bị công nghệ này do nó còn quá mới (mặc dù bằng sáng chế được nộp từ năm 2010), nhưng chắc chắn rằng người tiêu dùng sẽ sớm được sử dụng công nghệ này trong các sản phẩm sắp tới của hãng Apple.
Theo Dân Trí/AppleInsider/Mashable
